Клапаны взрывные предохранительные ПГВУ 091-80
Клапаны взрывные предохранительные служат для предотвращения разрушения энергетических установок в случае взрыва горючих газов, угольной пыли и др. Представляет собой отверстие (окно) во взрывоопасных элементах энергетических установок, закрытое дверцами или материалами (асбестовое полотно и др.), легко разрушающимися во время взрыва. Взрывной клапан, соединенный с отводами для газов, предохраняет персонал от ожогов. Взрывными клапанами оборудуются топочные камеры, газоходы паровых котлов и печей, системы пылеприготовления котельных установок, работающих как под разряжением, так и при избыточном давлении.

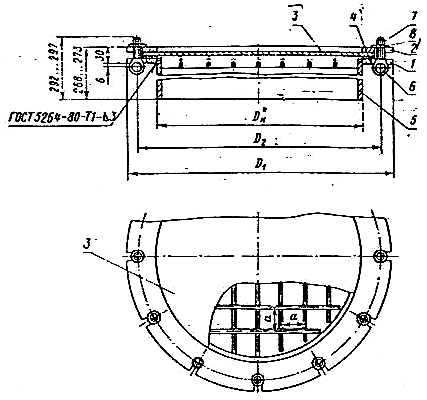
| Обозначение клапана |
Ду |
Дн |
Д1 |
Д2 |
Масса, кг |
| 1Ду150-1 ОСТ108 |
150 |
168 |
258 |
225 |
13,2 |
| 1Ду200-1 |
200 |
219 |
310 |
275 |
15,9 |
| 1Ду250-1 |
250 |
273 |
363 |
330 |
21,9 |
| 1Ду300-1 |
300 |
325 |
416 |
385 |
27,7 |
| 1Ду350-1 |
350 |
377 |
467 |
435 |
33 |
| 1Ду400-1 ОСТ108/ПГВУ091 |
400 |
426 |
538 |
498 |
42,7 |
| 1Ду450-1 |
450 |
480 |
592 |
555 |
48,2 |
| 1Ду500-1 |
500 |
530 |
642 |
605 |
56 |
| 1Ду600-2 |
600 |
630 |
744 |
705 |
56,5 |
| 1Ду700-2 |
700 |
720 |
834 |
795 |
61,8 |
| 1Ду800-2 |
800 |
820 |
934 |
895 |
64,7 |
| 1Ду900-2 |
900 |
920 |
1034 |
995 |
79,4 |
| 1Ду1000-2 |
1000 |
1020 |
1134 |
1095 |
88,1 |
| 1Ду1100-2 |
1100 |
1120 |
1234 |
1195 |
96,6 |
| 1Ду1200-2 |
1200 |
1220 |
1334 |
1295 |
105 |
Наша компания имеет возможность изготовить по технической документации клапаны взрывные предохранительные прямоугольные следующих сечений:
| 265х265 |
360х360 |
530х530 |
| 320х320 |
390х390 |
610х610 |
Также готовы изготовить клапаны взрывные предохранительные нестандартного прямоугольного сечения с разработкой технической документации для прямоугольных газоходов.
Метод расчета сечения взрывного предохранительного клапана и рекомендации по монтажу на газоход.
Размеры взрывных клапанов определяются проектом котла. Практический опыт показывает что площадь сечения взрывного клапана берется из расчета 0,05м3 на 1м3 газохода: Sкл=0,05м2 х Vгазохода. По полученным результатам подбирают ближайший типоразмер взрывного клапана.
Монтаж и эксплуатация взрывных предохранительных клапанов должны производиться в соответствии с «Правилами устройства и безопасной эксплуатации паровых и водогрейных котлов», «Правилами безопасности в газовом хозяйстве» и др. нормативными документами. Взрывной клапан обычно устанавливается на газоходе между котлом и дымовой трубой, желательно до газоплотного клапана (место возможного скопления газа, особенно при случайно закрытом газоплотном клапане). Предохранительные клапаны должны устанавливаться на пылеприготовительном оборудовании таким образом, чтобы исключить поражение персонала взрывной волной и выброшенной из клапанов горячей пылегазовой смесью. При невозможности установки предохранительных клапанов в местах, безопасных для обслуживающего персонала, нужно применять отводы. Для предотвращения несчастных случаев поддерживающие решетки или обоймы с сеткой следует ставить не только при работе клапанов под разрежением, но и при избыточном давлении.
|